Web Analytics
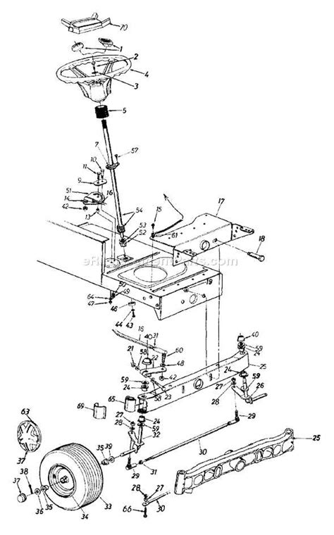
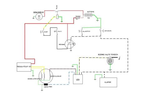
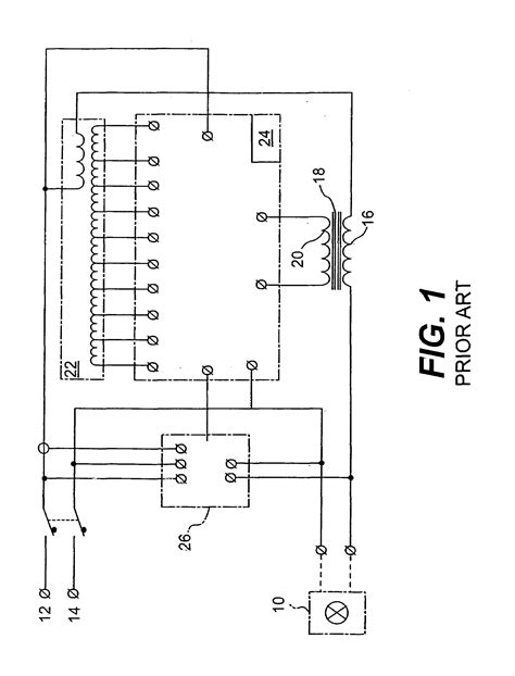
Wiring Diagram for John Deere 322: Tractor Electrical Guide!

Wiring Diagram for John Deere 322: Tractor Electrical Guide!

Wiring Diagram for John Deere 322: Tractor Electrical Guide! john deere 445 electrical schematic